Запасные части ЧТЗ Запасные части ЧТЗ
Киров
Например:
Актобе
Алдан
или
Выбрать автоматически
Актобе
Алдан
Алматы
Алчевск
Архангельск
Астана
Астрахань
Атырау
Баку
Балашиха
Барнаул
Белгород
Бердянск
Бишкек
Владивосток
Владикавказ
Воркута
Воронеж
Горловка
Грозный
Донецк
Екатеринбург
Иваново
Ижевск
Иркутск
Казань
Калининград
Каменск-Уральский
Караганда
Каховка
Кемерово
Киров
Комсомольск-на-Амуре
Костанай
Краснодар
Красноярск
Красный луч
Ленск
Луганск
Магадан
Магнитогорск
Макеевка
Махачкала
Мелитополь
Минск
Мирный (Якутия)
Москва
Мурманск
Нерюнгри
Нижневартовск
Нижний Новгород
Нижний Тагил
Новая каховка
Новокузнецк
Новосибирск
Новый Уренгой
Норильск
Ноябрьск
Нур-Султан
Омск
Оренбург
Ош
Павлодар
Пермь
Петрозаводск
Петропавловск
Петропавловск-Камчатский
Псков
Ростов-на-Дону
Салехард
Самара
Санкт-Петербург
Саратов
Севастополь
Семей
Симферополь
Сочи
Ставрополь
Сургут
Сыктывкар
Тараз
Ташкент
Токмак
Томск
Тында
Тюмень
Ульяновск
Усинск
Усть-Каменогорск
Уфа
Хабаровск
Ханты-Мансийск
Херсон
Челябинск
Чита
Шымкент
Экибастуз
Энергодар
Южно-Сахалинск
Якутск
Ваш город
Киров
Войти
Запасные части к тракторам на одном сайте
+7 (932) 303-00-10
+7 (932) 303-00-10
г. Киров, ул. Щорса, д. 105
Пн-Пт: 9:30-18:30 Cб-Вс: Выходной
Отправить заявку


МУП на Т-170


/
с НДС 20%
Описание
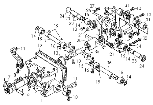
Механизм управления поворотом Т-170
Поз.НаименованиеАртикулКол-во в сборке
0Корпус24-13-102СП1
0Корпус24-13-103СП1
0Крышка24-13-104СП1
0Механизм управления поворотом 50-13-5СП1
1Корпус24-13-31
2Шайба 16ОТ65Г094
3Болт700-28-26214
4Кольцо18-17-871
5Шплинт2,5Х252
6Палец35-13-301
7Валик 24-13-105СП1
8Шпонка700-34-20481
9Кольцо 038-046-46-2-21
10БолтМ10Х25.58.0196
11Рычаг50-13-292
12Прокладка 700-40-31141
13Втулка 35-13-16-12
14Кольцо 020-025-30-2-25
15Рычаг 50-13-22
16Втулка 50-15-222
17Валик 24-13-211
18Втулка50-13-562
19Шпонка341284
20Рычаг 35-13-91
21Рычаг 35-13-11-11
22Шпонка700-34-20404
23Валик 24-13-182
24Заглушка134102
25Заглушка18-17-91
26Крышка24-13-41
27Шайба10ОТ65Г096
28Пробка 26211
29Прокладка700-40-71141
30Штифт700-32-21982
31Втулка50-13-262
32Рычаг18-17-29-12
33Болт700-28-23812
34ГайкаМ10Х6.0192
35Рычаг 50-13-101СП1
36Валик 24-13-201
МУП